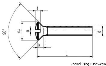
SLOTTED RAISED COUNTERSUNK (CSK) HEAD SCREW BS4183 = zapustna skrutka so sosovkovitou hlavou podla DIN964, ISO2010




Ďalšie informácie ku konkrétnym výkresom

ako napr. chýbajúce rozmery, zmenené materiály, preložené zložité poznámky a podobne.
Kliknite SEM a hľadajte napísaním čísla výkresu do vyhľadávacieho poľa "Search" vpravo hore.